
针对已通过微信认证的订阅号,微信公众平台作出以下接口调整,升级其开发者接口能力。
1. 已微信认证的订阅号可使用接口进行群发,接口的群发规则与网站端一致,每天1次;
2. 已微信认证的订阅号可使用客服接口;
3. 已微信认证的订阅号增加用户管理类部分接口,包括用户分组管理接口、设置用户备注名接口、获取用户基本信息接口、获取用户列表接口;
4. 已微信认证的订阅号,增加上传下载多媒体文件接口。
另外,已微信认证的订阅号可以通过公众号登录授权,在第三方的公众号运营平台上,使用群发、客服回复和用户管理等功能。(第三方平台开发者可以在微信开放平台(open.weixin.qq.com)上接入公众号登录授权。)
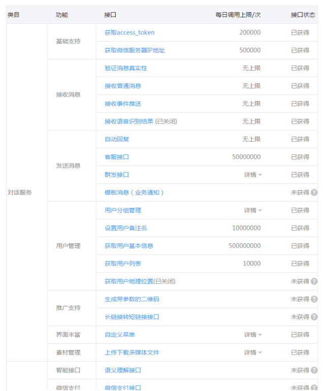
符合条件的公众号运营者,可以登录微信公众平台,进入开发者中心页,查看调整后的接口情况。接口权限列表如下图所示:

-----------------------------------------------------------
更多精品内容关注我们微信--- 微号推 !
微号推
Id: weihaotui
或通过扫描下面的二维码进行关注:
